您所在的位置:首页 -> 知识产权关键字

雾霾

摘要:新年伊始,我国中东部各地就陆续出现大范围和长时间雾霾天气。受雾霾天气影响,我国各地空气质量整改引发热议。

2

新年伊始,我国中东部各地就陆续出现大范围和长时间雾霾天气。受雾霾天气影响,我国各地空气质量整改引发热议。13日上午9时,北京出现了自35个监测站PM2.5数据实时上线后的最严重污染,除定陵、八达岭、密云水库外,北京其余区域空气质量指数AQI全部达到极值500,为六级严重污染中的“最高级”。据环保专家分析,如果在冬季遇到长时间雾霾过程,通常在北方地区因为采暖期猛增的能源消耗排放,中等以上城市人口集中排放量大的主城区连续三天的空气污染物积累就可能达到重度污染的程度,在南方地区如果生产和交通排放量大也可能达到重度污染的程度。

应如何应对呢?环境保护部环境规划院副院长、总工程师王金南表示,PM2.5等污染物的治理,难就难在需要综合手段,实现多项污染物协同减排,只要有一个环节“掉链子”,PM2.5减排就会受影响。大气污染呈现区域性特征,必须建立区域联防联控机制来应对。除此之外,登陆专利信息服务平台,可以检索到一些针对雾霾污染的应对措施。

一种空气净化系统

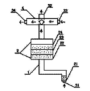
1

一种空气净化系统,属于空气净化技术领域,其室外取风口、防沙过滤装置、净化箱、用于室内出风与室外进风的热交换箱和室内进风口依次通过风管连接,净化箱内设多级过滤器,热交换箱还设有室内排风口和室外出风口,室内排风口和室外出风口贯通连接。本实用新型空气净化系统的有益效果是,1、净化箱与热交换箱分离,便于拆卸安装,更换滤材;2、风道优化设计,风能损耗低,最大程度上保证通风效率,能耗降低;3、适用于北方的沙尘天气和南方的雾霾天气等极端天气,对沙尘、气溶胶颗粒有良好的分解、吸附作用。

保健口罩

4

本实用新型公开了一种保健口罩,包括内层、外层,内层与外层之间设有保健层,保健层包括至少一层竹炭纤维布,竹炭纤维布采用18tex-28tex的竹炭人造纤维或竹炭合成纤维或棉与竹炭纤维混纺纱线织成,经纬密度为100-180根/10厘米×90-160根/10厘米。具有过滤和保健综合功能,特别适用于雾霾天气、有毒有害气体多、粉尘多的环境中佩戴,可以减少人体吸入有毒有害气体及粉尘。

雾霾保健口罩

3

本发明公开了一种雾霾保健口罩,它是在多层织物(3)构成的普通口罩的内部加4个磁片,其中两个磁片(4)的位置在鼻翼两侧对应迎香穴,另外两磁片(2)在上述两磁片的下部外侧对应下关穴位。本口罩所带磁片产生磁场,雾霾中带正、负电荷的一次、二次颗粒物及金属颗粒物,在洛伦兹力作用下,上述三种颗粒物产生偏转,使颗粒物远离吸入通道;本口罩同时具有普通口罩的过滤作用,在上述两作用下,吸入的有害物质大为减少,减轻人们在污染严重的情况下出行、工作的健康危害。本口罩设磁片对应人体穴位,长期戴用具有保健作用。(中国知识产权网综合)