摘要: 说明书附图则用于对说明书文字部分的补充。
相关技术动态:
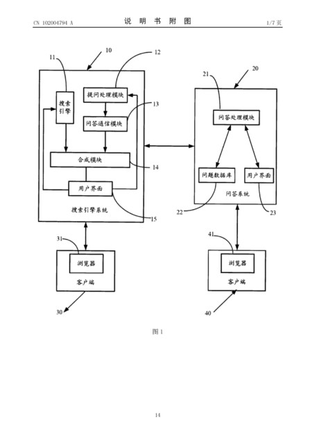
说明书附图则用于对说明书文字部分的补充。以百度公司申请的“搜索引擎系统及其实现方法”专利为例:

(责任编辑:小新)
相关推荐:
摘要: 说明书附图则用于对说明书文字部分的补充。
相关技术动态:
说明书附图则用于对说明书文字部分的补充。以百度公司申请的“搜索引擎系统及其实现方法”专利为例:

(责任编辑:小新)
京ICP备05065668号 | 互联网出版许可证新出网证(京)字005号
Copyright 2013 CNIPR.com © 版权所有 不得转载